HomeDesign Services FPGA Boards FMC ModulesIP CoresZ-RAY Modules AccessoriesOnline StoreHow To BuyAbout UsDesign ToolsSearch

 

FPGA Boards Selection Guide

FMC Modules Selection Guide


 

              

HTG-K700 : Kintex®-7 PCI Express Development Board

 

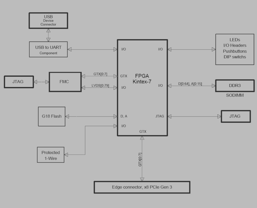
Powered by AMD  Kintex-7 K325T or K410T FPGA (in FFG900 package) and supported by eight-lane PCI Express Gen2 (hard)/Gen 3 (soft), FPGA Mezzanine Connector (FMC), DDR3 SODIMM, and wealth of different reference designs, the HTG-K700 provides a very flexible and powerful platform for development and production of many different FPGA based applications.

Placement of the FMC connector on the front panel side provides mechanical flexibility for more effective expansion of the platform's functionality. Availability of  8 GTX serial transceivers and 160 single-ended I/Os  (80 LVDS) along with wealth of off-the-shelf FMC modules enable the HTG-K700 platform usage for wide variety of different applications.

Supported by pre-verified reference designs and software components, the HTG-K700 reduces engineering design cycles and accelerates time to market requirements.

Features:

AMD Kintex-7 K325T-2, or K410T-2,
x8 PCI Express Gen 2 through hard-coded PCI Express controller inside the FPGA or Gen3  through soft IP core
DDR3 Dual Rank SODIMM up to 8GB (shipped with 2GB density)
FMC HPC connector with 160 Single-ended (HR I/Os ranging from 1.2V-3.3V) and 8 GTX (12.5Gbps) Serial I/Os. The I/O bank voltages are controlled through the V_adjust option.
    - Placement of the FMC connector on the front side of the board allows
      effective interface of FMC modules through the front panel
USB to UART Bridge
Micron Embedded flash for fast FPGA configuration and PCI Express enumeration
SMA connectors for additional System and FMC clocks
Support for both PCI Express and stand alone modes
Standard ATX and wall power supply connectors
General Purpose I/Os (GPIO) available through standard headers
IP protection/security chip
Size: 6.6" x 4.25"
Ordering information

Part Numbers:
HTG-K7-PCIE-325-2 : $3,150.00  [Buy Online]
HTG-K7-PCIE-410-2

 

Kit Content
- HTG-K700 Board
- DDR3 memory and PCI Express reference designs, 10G/40G reference demo, PCI Express Drivers (evaluation), user manual, UCF, schematic (in pdf)

 

Accessories (FMC Modules)

Vita 57.1 (FMC)
Quad 12-Bit (4 GSPS) ADC
Quad16-Bit (12 GSPS) DAC
More info..

Vita 57.4 (FMC+)
Single 12-bit ADC (10.25 GSPS)
Dual 16-bit DAC (12.6 GSPS)
More info...

Vita 57.1 (FMC)
Dual14-bit ADC (3 GSPS)
Dual 16-bit DAC (12.6 GSPS) 
More info..

Vita 57.4 (FMC+)
Quad 14-bit ADC (3 GSPS)
FMC+ Module
More info..

Vita 57.1 (FMC)
4-Channel 16-bit ADC (1 GSPS) FMC Module  More info..

Vita 57.4 (FMC+)
4-channel 16-bit DAC(2.8 GSPS)
More info..

Vita 57.1 (FMC)
2-channel 16-bit DAC (2.8 GSPS)
More info..

Vita57.1 (FMC) & Vita57.4 (FMC+ & FMC cables
More Info..

Vita 57.4 (FMC+)
x2 QSFP-DD (Double Density) FMC+ Module More Info..

Vita57.1 (FMC)
2-port QSFP28 / QSFP+ FMC Module More Info..

Vita 57.4 (FMC+)
4-port QSFP28/QSFP+ FMC+ Module More info..

Vita 57.4 (FMC+)
x6 FireFly (600G) FMC+ Module
More info...

Vita 57.4 (FMC+)
6-port QSFP28 / QSFP+ FMC+ Module  More info..

Vita 57.4 (FMC+)
CFP8 FMC+ Module
More info..




Vita57.1 (FMC)
 QSFP28 (100G) /LVDS
FMC Module More info..

Vita57.1 (FMC)
10-port SFP+(10x10G)  FMC Module  More info..

Vita57.1 (FMC)
x2 QSFP28 / SpaceWire/ LVDS
FMC Module  More info..

Vita57.1 (FMC)
QSFP28 SFP+ / QSE FMC Module
More Info..

Vita57.1 (FMC)
SFP+/  QSFP+ FMC Module

 More info..

Vita57.1 (FMC)
2-port QSFP+  FMC Module
More Info..

Vita 57.4 (FMC+)/Vita 57.1 FMC
I/O Loopback FMC/FMC+ / Clock Generator Module

More Info.. 

Vita 57.4 (FMC+)
Low-profile x4 FireFly FMC+
Right turn (when inserted)
More info..

Vita 57.4 (FMC+)
Low-profile x4 FireFly FMC+
Left turn (when inserted)
More info..

Vita 57.4 (FMC+)
4-port  OCuLink FMC+ Module
More info..

Vita57.1 (FMC)
3-port USB 3.0 FMC Module
More Info...

Vita57.1 (FMC)
42-channel RS485/RS422 FMC Module  More Info..

Vita57.1 (FMC)
X8 PCI Express Root Complex FMC Module More info.

Vita 57.4 (FMC+)
X16 PCI Express Root Complex FMC Module More info..

Vita57.1 (FMC)
4-channel RS485/RS422 FMC Module 
More Info..

Vita57.1 (FMC)
Quad RJ45 Ethernet FMC Module (SGMII) 
More Info..

Vita57.1 (FMC)
SFF-8639/Display Port/ SATA/ Ethernet / USB FMC Module
More info..

Vita57.1 (FMC)
26-port LVDS FMC Module
More Info..

Vita57.1 (FMC) & Vita57.4 (FMC+ & FMC cables

More Info..

Vita57.1 (FMC)

4-port SMA FMC Module
More Info..

Vita57.1 (FMC)

4-port SFP+ (4x10G) FMC Module  More Info..

Vita57.1 (FMC)
9-channel receiver/ 7-chanenl transmitter RS422 FMC Module
More Info..

 

Vita 57.4 (FMC+) / Vita57.1 (FMC)
FMC+ to FMC Splitter Module
More info..

Vita 57.4 (FMC+)

FPGA I/O Probing FMC+ Module
More info..

Vita57.1 (FMC)
8-port SMA / 33-pair LVDS FMC Module
More Info.
 

Vita 57.1(FMC)
x2 M.2 SSD FMC Module

More info..

Vita57.1 (FMC)

FMC to EXAMAX Backplane Conversion Module

Vita 57.4 (FMC+)
24-port  Mini SMP/GPPO
 / 34-pair LVDS FMC Module
More info..

   

           
           

 

l